0-PL951 Ball Caster with 3/8in. Metal Ball <font color="00ff66" size="2" face="Arial, Helvetica, sans-serif">This ball caster kit includes a black ABS housing, a 3/8in. diameter metal ball, two spacers (1/16in. and 1/8in. thick), and two #2 screw sets.
</font>
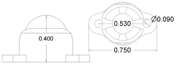
<p><font color="00ff66" size="2" face="Arial, Helvetica, sans-serif">The total height of this ball caster is 0.4in. with no spacers. You can also adjust the height to 0.6in. by adding the spacers.</font></p>
<p><font color="00ff66" size="2" face="Arial, Helvetica, sans-serif">The ball caster can be mounted to a chassis by the two screw sets included in the kit. The distance between the two screw holes is 0.53in.</font></p>

Ball Caster with 3/8in. Metal Ball
This ball caster kit includes a black ABS housing, a 3/8in. diameter metal ball, two spacers (1/16in. and 1/8in. thick), and two #2 screw sets.

$2.99
Robot MarketPlace - Ball Caster with 3/8in. Metal Ball

Mechanical and Drive
    Pololu Wheels and Accessories


Click photo to enlarge.

Ball Caster with 3/8in. Metal Ball
Part# 0-PL951




Please see this product on the new Robot MarketPlace web site. Click here

 
 

 

 

 



 


This page was made with 4W WebMerge